Запасные части ЧТЗ Запасные части ЧТЗ
Петрозаводск
Например:
Актобе
Алдан
или
Выбрать автоматически
Актобе
Алдан
Алматы
Алчевск
Архангельск
Астана
Астрахань
Атырау
Баку
Балашиха
Барнаул
Белгород
Бердянск
Бишкек
Владивосток
Владикавказ
Воркута
Воронеж
Горловка
Грозный
Донецк
Екатеринбург
Иваново
Ижевск
Иркутск
Казань
Калининград
Каменск-Уральский
Караганда
Каховка
Кемерово
Киров
Комсомольск-на-Амуре
Костанай
Краснодар
Красноярск
Красный луч
Ленск
Луганск
Магадан
Магнитогорск
Макеевка
Махачкала
Мелитополь
Минск
Мирный (Якутия)
Москва
Мурманск
Нерюнгри
Нижневартовск
Нижний Новгород
Нижний Тагил
Новая каховка
Новокузнецк
Новосибирск
Новый Уренгой
Норильск
Ноябрьск
Нур-Султан
Омск
Оренбург
Ош
Павлодар
Пермь
Петрозаводск
Петропавловск
Петропавловск-Камчатский
Псков
Ростов-на-Дону
Салехард
Самара
Санкт-Петербург
Саратов
Севастополь
Семей
Симферополь
Сочи
Ставрополь
Сургут
Сыктывкар
Тараз
Ташкент
Токмак
Томск
Тында
Тюмень
Ульяновск
Усинск
Усть-Каменогорск
Уфа
Хабаровск
Ханты-Мансийск
Херсон
Челябинск
Чита
Шымкент
Экибастуз
Энергодар
Южно-Сахалинск
Якутск
Ваш город
Петрозаводск
Войти
Запасные части к тракторам на одном сайте
+7 (932) 303-00-10
+7 (932) 303-00-10
г. Петрозаводск, ул. Заводская, д. 18
Пн-Пт: 9:30-18:30 Cб-Вс: Выходной
Отправить заявку


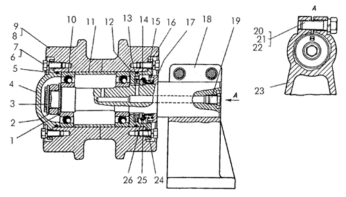
Каток поддерживающий в разрезе на Т-170


/
с НДС 20%
Описание
Каток поддерживающий Т-170 в разрезе
Поз.НаименованиеАртикулКол-во в сборке
0Каток поддерживающий50-21-394СП2
1Кольцо50-21-3181
2Гайка700-30-21951
3Шплинт35-21-371
4Крышка50-21-3131
5Кольцо700-40-44512
6Шайба12ОТ65Г0912
7Болт 281612
8Ролик50-21-395СП1
9Ролик50-21-395-01СП1
10Подшипник 310А2
11Втулка50-21-3151
12Прокладка 700-40-53771
13Кольцо 24-21-1551
14Кольцо 24-21-1561
15Упор50-21-345СП1
16Кольцо 700-58-2158-011
17Лабиринт50-21-3161
18Ось50-21-3751
19Пробка 700-37-22401
20Шайба20.ОТ.65Г092
21Болт 282342
22Болт28234-012
23Кронштейн50-21-3141
24Пружина 700-38-27521
25Обойма 2112201
26Манжета 700-40-53781
Каток поддерживающий в разрезе