Запасные части ЧТЗ Запасные части ЧТЗ
Петрозаводск
Например:
Актобе
Алдан
или
Выбрать автоматически
Актобе
Алдан
Алматы
Алчевск
Архангельск
Астана
Астрахань
Атырау
Баку
Балашиха
Барнаул
Белгород
Бердянск
Бишкек
Владивосток
Владикавказ
Воркута
Воронеж
Горловка
Грозный
Донецк
Екатеринбург
Иваново
Ижевск
Иркутск
Казань
Калининград
Каменск-Уральский
Караганда
Каховка
Кемерово
Киров
Комсомольск-на-Амуре
Костанай
Краснодар
Красноярск
Красный луч
Ленск
Луганск
Магадан
Магнитогорск
Макеевка
Махачкала
Мелитополь
Минск
Мирный (Якутия)
Москва
Мурманск
Нерюнгри
Нижневартовск
Нижний Новгород
Нижний Тагил
Новая каховка
Новокузнецк
Новосибирск
Новый Уренгой
Норильск
Ноябрьск
Нур-Султан
Омск
Оренбург
Ош
Павлодар
Пермь
Петрозаводск
Петропавловск
Петропавловск-Камчатский
Псков
Ростов-на-Дону
Салехард
Самара
Санкт-Петербург
Саратов
Севастополь
Семей
Симферополь
Сочи
Ставрополь
Сургут
Сыктывкар
Тараз
Ташкент
Токмак
Томск
Тында
Тюмень
Ульяновск
Усинск
Усть-Каменогорск
Уфа
Хабаровск
Ханты-Мансийск
Херсон
Челябинск
Чита
Шымкент
Экибастуз
Энергодар
Южно-Сахалинск
Якутск
Ваш город
Петрозаводск
Войти
Запасные части к тракторам на одном сайте
+7 (932) 303-00-10
+7 (932) 303-00-10
г. Петрозаводск, ул. Заводская, д. 18
Пн-Пт: 9:30-18:30 Cб-Вс: Выходной
Отправить заявку


Электростартерный запуск дизеля Т-170 Б-170 трактора в Петрозаводске


/
с НДС 20%
Описание

На тракторе вместо пускового двигателя П-23У может устанавливаться электрический стартер. При этом в обозначение марки трактора добавляется цифра 4. Например, Т-170.40 или Т-170.41.

С применением электростартера 25.16.3708 мощностью 10,5 кВт устанавливаются две аккумуляторные батареи 6СТ-182ЭМ или 6СТ-190А.

Конструктивные особенности трактора с электростартерным запуском Т-170

На маховике дизеля вместо зубчатого венца, с косыми зубьями установлен, зубчатый венец с прямыми зубьями.

На носке коленчатого вала дизеля имеется устройство, позволяющее при регулировании вращать коленчатый вал специальной рукояткой, имеющейся в ЗИП трактора.

В систему питания дизеля введен ручной топливоподкачивающий насос, предназначенный для подачи топлива из бака к топливному насосу, прокачки топлива в системе при удалении воздуха из системы и создания необходимого давления топлива перед свечой электрофакельносо устройства (ЭФУ).

Для облегчения пуска дизеля при минусовых температурах применено электрофакельное устройство. Электрофакельное устройство состоит из свечи накаливания и электромагнитного клапана, закрепленных на всасывающем патрубке между турбокомпрессором и всасывающим коллектором дизеля.

В систему смазки дизеля включен маслозакачивающий насос (МЗН) с электроприводом. МЗН установлен на лючке, картера со стороны расположения масломерной линейки. Включение МЗН осуществляется поворотом ключа на щитке приборов. МЗН служит для создания давления масла в системе смазки дизеля и турбокомпрессора перед пуском дизеля электростартером.

Изменена схема подвода охлаждающей жидкости к дизелю. Водяной насос перекачивает охлажденную жидкость по патрубку в блок дизеля.

Снятие стартера Т-170

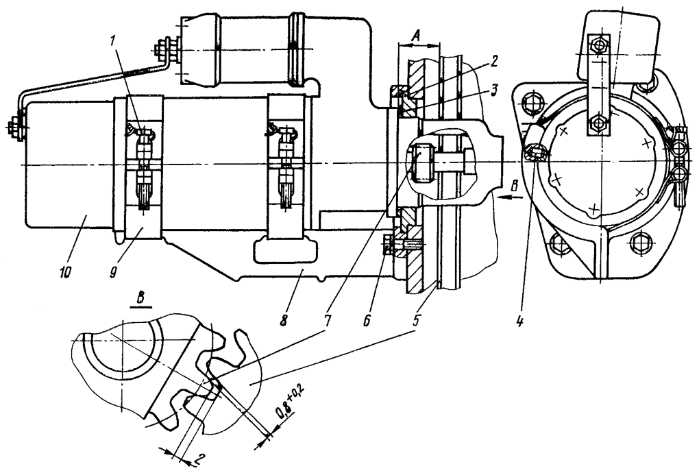
Стартер дизеля

Рис. 336. Стартер дизеля

Отсоедините от стартера 10 ( рис. 336 ) электропроводку.

Выверните четыре болта крепления кронштейна 8 стартера и снимите кронштейн со стартером с дизеля. Масса кронштейна со стартером 41 кг. Снимите с шейки стартера втулку 2 и набор регулировочных колец 3. Расстопорите два болта 1 крепления стартера к, кронштейну и выверните их из хомутов 9. Снимите стартер с кронштейна.

Установка стартера Т-170

Запрессуйте в корпус стартера штифт 4 и уложите стартер в кронштейн 8 штифтом в отверстие кронштейна. Стяните кронштейн со стартером двумя хомутами, ввернув в хомуты болты. Застопорите болты проволокой. Наденьте на шейку стартера регулировочные кольца и втулку 2. Регулировочных колец должно быть не больше шести. Установите кронштейн со стартером в расточку кожуха маховика и закрепите четырьмя болтами 6 с пружинными шайбами. Проверьте размер А - между привалочной плоскостью стартера и торцом венца 5 маховика (обращенным к стартеру), который должен быть г. пределах 45,383... 47,04 мм.

Этот размер установите, изменяя количество регулировочных колец, одеваемых на шейку стартера. Боковой зазор между зубьями шестерен 7 стартера и венцом 5 маховика должен быть в пределах 0,8 ... 1 мм, а радиальный зазор — не менее 2 мм.

Электростартерный запуск дизеля